به گزارش گروه رسانه های خبرگزاری تسنیم، اگر شما هم یکی از میلیونها نفری هستید که هر روز با هواپیما مسافرت میکنند، شرکت بوئینگ راهکار جدیدی ارایه کرده است که به واسطه آن میتوانید از مزایای هواپیماهای کوچک با قابلیت فرود آمدن در باندهای معمولی بهرهمند شوید.
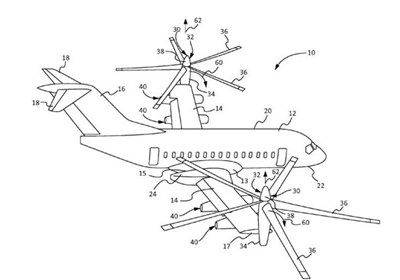
شرکت بوئینگ حق امتیازی را به ثبت رسانده است که به موجب آن هواپیمایی با نام VTOL (فرود و صعود عمودی) ساخته میشود و در آن واحد میتواند 100 مسافر را با خود حمل کند.

این هواپیما در دو سر بالهای افقی خود به دو بال چرخان مجهز شده است که امکان پرواز آن مانند هلیکوپتر را فراهم میکند و به عبارت دیگر، در حالی که نحوه صعود و فرود این پرنده آهنی شبیه هلیکوپتر طراحی شده است، VTOL میتواند با بدنهای شبیه به هواپیما و با سرعت جتهای امروزی حرکت کند.

شرکت بوئینگ پیش از این مدل نظامی VTOL را با نام V-22 Osprey مورد آزمایش قرار داد و هماکنون قرار شده است این هواپیما به صورت عمومی برای مسافرتهای هوایی به کار گرفته شود.

مدل نظامی این هواپیما بین 6 تا 9 نفر را در خود جا میدهد و یکی از بزرگترین مشکلات آن بالهای چرخان ویژهای است که بسیار بزرگ طراحی شده است تا بتواند ادوات نظامی را با خود حمل کند و همین مسئله هواپیمای عمودپرواز را غیرکاربردی کرده است.

حق امتیاز جدید بوئینگ کاربردیتر است و نسبت به مدل قبلی، فرآیند سوختگیری هم در آن آسانتر طراحی شده است. قرار است در آینده نزدیک این هواپیما به صورت آزمایشی پرواز کند.
منبع:فارس
انتهای پیام/
بازگشت به صفحه سایر رسانهها